Apollo Flight Journal logo
Index Index
Mission Documents Journal Home Page

Apollo 11

CSM Operations Checklist - Index

Page © 2019-2025 by W. David Woods, Kenneth D. MacTaggart and Frank O'Brien. All rights reserved.
Last updated 2025-02-15

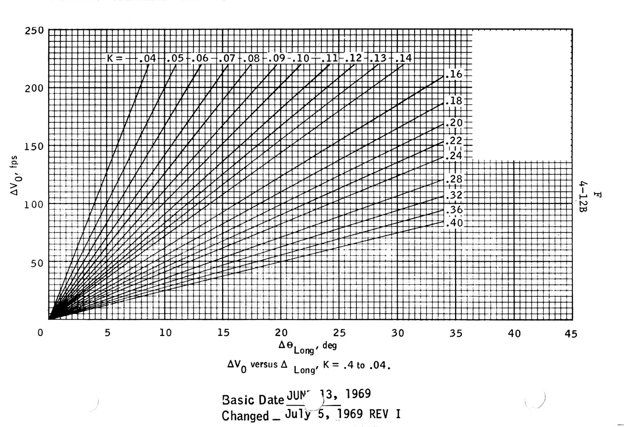
The CSM Operations Checklist presented here was derived from scans of Mike Collins' flown checklist, currently in the collection of the Smithsonian's National Air and Space Museum (Catalog number A19850133000). All of the annotations are on the original. These images are presented with permission of the Smithsonian, National Air and Space Museum subject to its terms of use policy.

Cue Cards

Flight Table of Contents

Section 1. Reference Data

  • F1-1 - Star List
  • F1-2 - Verb List
  • F1-3 - Verb List (continued)
  • F1-4 - Noun List
  • F1-5 - Noun List (continued)
  • F1-6 - Noun List (continued)
  • F1-7 - Noun List (continued)
  • F1-8 - V05 N09 Alarm Codes
  • F1-9 - V05 N09 Alarm Codes (continued)
  • F1-10 - V05 N09 Alarm Codes (continued)
  • F1-11 - V05 N09 Alarm Codes (continued)
  • F1-12 - V05 N09 Alarm Codes (continued)
  • F1-13 - V05 N09 Alarm Codes (continued)
  • F1-14 - V50 N25 Checklist Codes - V04 N06 (N12) Option Codes
  • F1-15 - Flag Word Listing
  • F1-16 - Flag Word Listing (continued)
  • F1-17 - Flag Word Listing (continued)
  • F1-18 - V60-63 Description
  • Section 2. G&N General

    Section 3. Navigation

    Section 4. Prethrust

    Section 5. Thrusting

    Section 6. Alignments

    Section 7. Targeting

    Section 8. Extended Verbs

    Section 9. SCS General

    Section 10. Systems Management

    Section 11. LM Interface

    (No Section 12)

    Section 13. LOI Aborts

    Section 14. Flight Emergency Procedures

    Miscellaneous

    Index Index
    Mission Documents Journal Home Page