
This document was scanned by Frank O'Brien
Entire Document in PDF Format ( 2.8Mb, PDF )
Title Page ( 115k )
Signature Page ( 61k )
Page i - Contents ( 81k )
Page ii - Contents (cont.) ( 59k )
Page iii - Cue Card Locations ( 254k )
Page 1 Feet - Nautical mile Conversion ( 43k )
Page 2 S-Band Antenna Angles ( 71k )
Page 3 DEDA Addresses ( 39k )
Page 4 DPS, APS, RCS Temprature and Pressure Limits ( 59k )
Page 5 Electrical Bus Failure Proceedures ( 36k )
Page 6 DPS, SHe Pressure Ranges ( 34k )
Page 7 Communications Configuration ( 132k )
Page 8 Loss of Communications ( 85k )
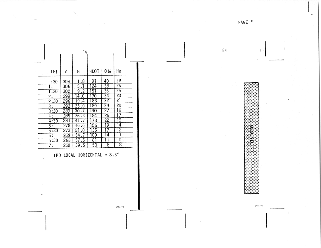
Page 9 Ascent Monitor Chart ( 74k )
Page 10 DPS - Ascent ( 128k )
Page 11 Descent Proceedures ( 103k )
Page 12 COAS Boresight Log ( 35k )
Page 13 Abort - DPS ( 135k )
Page 14 DPS Burn ( 72k )
Page 15 No PDI+12 APS Abort ( 77k )
Page 16 DPS Abort Insertion ( 108k )
Page 17 Staging ( 92k )
Page 18 Alarm Codes ( 151k )
Page 19 Mission Rule No Go's ( 157k )
Page 20 Abnormal Vehicle Dynamics ( 192k )
Page 21 C & W Light Interpretation and Action ( 210k )
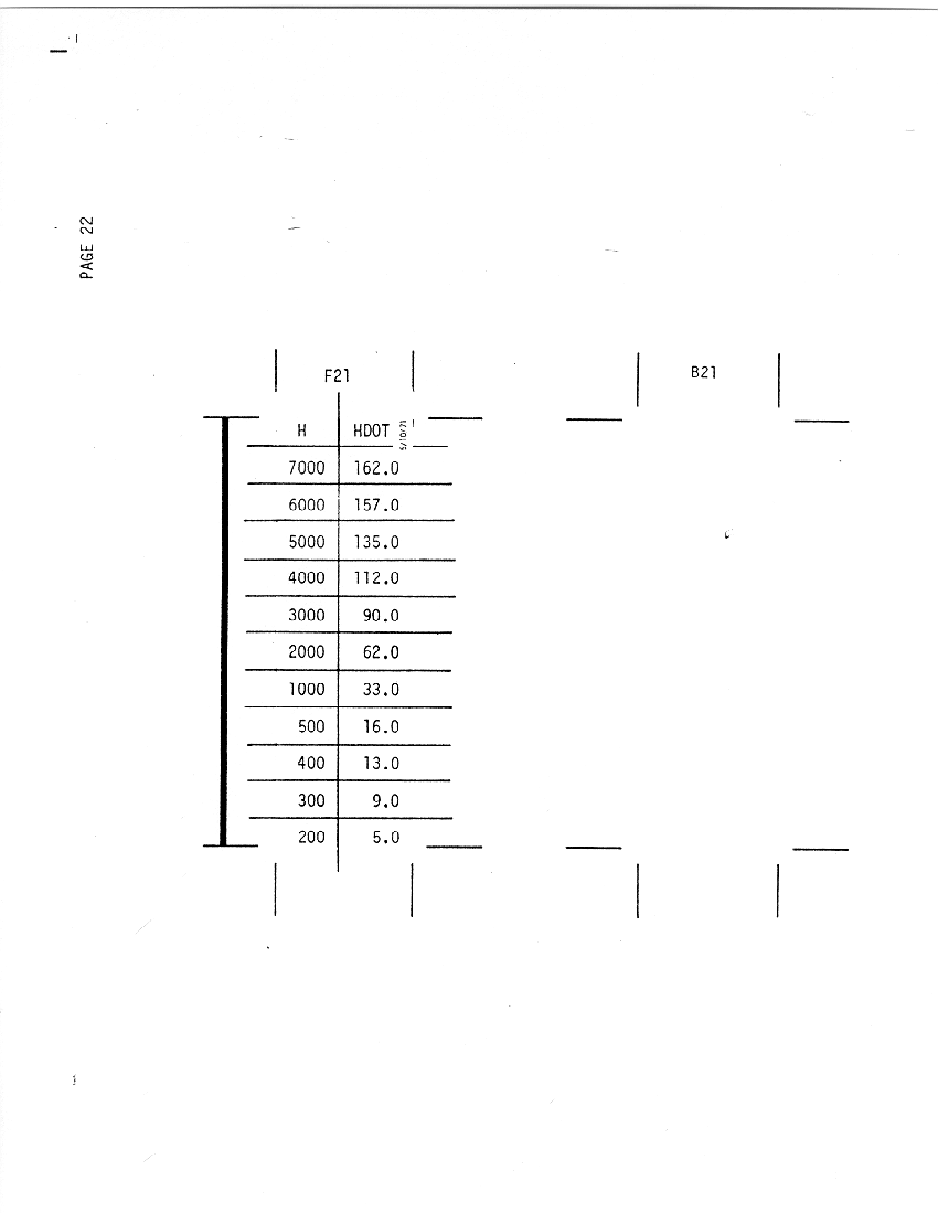
Page 22 Descent H vs H-dot ( 31k )
Page 23 CDR Warning Lights ( 160k )
Page 24 Velcro for CDR Warning Lights ( 23k )
Page 25 Bus Loss ( 91k )
| Journal Home Page | Apollo 15 Home Page |