Apollo 15 Lunar Surface Journal

 

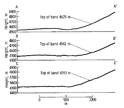
Preliminary Science Report Figure 5-27

 

click for larger version

 

FIGURE 5-27.-Profiles through base of Mt. Hadley showing top of dark band. (Profiles compiled on an AS-11-AI stereoplotter using two panoramic camera photographs (pans AS15-9809 and AS15-9814).